АРМАТУРА СИГНАЛЬНАЯ

Предназначена для световой сигнализации в стационарном оборудовании в условиях умеренного и тропического климата.

  • Климатическое исполнение ламподержателей У категории 3 по ГОСТ 15150-69
  • Диапазон рабочих температур от – 10°C до +40°C
  • АРМАТУРА СИГНАЛЬНАЯ
  • АРМАТУРА СИГНАЛЬНАЯ
  • Предназначена для световой сигнализации в стационарном оборудовании в условиях умеренного и тропического климата.
  • Используется для установки коммутаторных ламп типа КМ или многоточечных светодиодных индикаторов в корпусе коммутаторных ламп на напряжение 6, 12, 24, 48, 60 В с линзами красного, зеленого или белого цвета. На напряжение 220 В постоянного или переменного тока арматура используется с последовательно включенным резистором.
  • Технические характеристики:
    Номинальное напряжение по изоляции:
           постоянного тока до 320 В
           переменного тока до 220 В
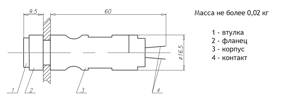
    Размер светового пятна, D 8 мм
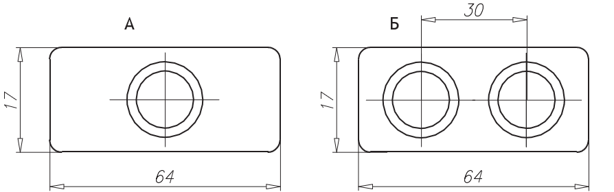
    Размер отверстия в панели под установку арматуры, D 12,5 мм
    Масса, не более, кг 0,02 кг
  • Напряжение, подаваемое на токоведущие контакты арматуры с установленной лампой или светодиодом, должно соответствовать их номинальному значению.
  • Использование светодиодов при длинных линиях подводящих кабелей на переменном токе нецелесообразно из-за наводок напряжения, вызывающих паразитную подсветку светодиодов.
  • Габаритные и установочные размеры ламподержателей

ДРУГИЕ ПРОДУКТЫ ИЗ ЭТОЙ КАТЕГОРИИ

Перейти в каталог